| Antal | Längd (mm) |
|---|
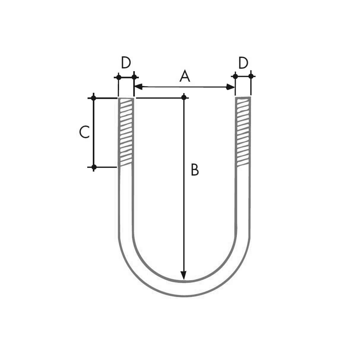
UBS U-bult - Hårnål
KAPNING AV SKENOR OCH RÖR!
OBS: Varje snitt tar 3 mm av längden. 1. Klicka på knappen "Lägg till skärning". 2. Ange antal och önskad längd (Klicka på knappen "Lägg till skärning" igen om du vill lägga till ytterligare kvantiteter/längder). 3. Klicka deretter på knappen "Beräkna". Numret är uppdaterat nedan. 4. Klicka slutligen på knappen "Lägg i korgen". Antal snitt och antal längder läggs till din korg.
Ubolt/Hårtapp för montering av rör på profilskena. Levereras i elförzinkat utförande och i rostfritt stål.
Observera: D-måttet varierar för u-bultar/hårnålar i de två tillgängliga materialen: elförzinkat och rostfritt stål. Se ritningar.
Obs: Muttrar beställs separat.
| Artikelnr | D mm | Rör diameter " |
Utv. rör diameter mm |
B mm | A mm | C mm |
|---|---|---|---|---|---|---|
| UBS 3/8 | M6 | 3/8” | 17 | 40 | 19 | 20 |
| UBS 1/2 | M6 | 1/2” | 22 | 50 | 24 | 25 |
| UBS 3/4 | M8 | 3/4” | 27 | 60 | 29 | 30 |
| UBS 1 | M8 | 1” | 34 | 70 | 37 | 30 |
| UBS 1 1/4 | M10 | 1 1/4” | 42 | 80 | 45 | 35 |
| UBS 1 1/2 | M8 | 1 1/2” | 48 | 70 | 51 | 30 |
| UBS 2 | M8 | 2” | 60 | 85 |
62 | 30 |
| UBS 2 1/2 | M12 | 2 1/2” | 76 | 120 | 80 | 40 |
| UBS 3 | M12 | 3” | 89 | 135 | 93 | 40 |
| UBS 4 | M12 | 4” | 114 | 160 | 120 | 40 |
| UBS 5 | M12 | 5” | 140 | 185 | 146 | 40 |
| UBS 6 | M12 | 6” | 165 | 220 | 171 | 50 |
| Artikelnr | D mm | Rör diameter " |
Utv. rör diameter mm |
B mm | A mm | C mm |
|---|---|---|---|---|---|---|
| UBS 1/2 SS | M6 | 1/2” | 22 | 33 | 23 | 15 |
| UBS 3/4 SS | M8 | 3/4” | 27 | 50 | 28 | 30 |
| UBS 1 SS | M8 | 1” | 34 | 55 | 35 | 30 |
| UBS 1 1/4 SS | M8 | 1 1/4” | 42 | 65 | 44 | 30 |
| UBS 1 1/2 SS | M8 | 1 1/2” | 48 | 70 | 50 | 30 |
| UBS 2 SS | M8 | 2” | 60 | 85 | 61 | 26 |
| UBS 2 1/2 SS | M10 | 2 1/2” | 76 | 100 | 77 | 30 |
| UBS 3 SS | M10 | 3” | 89 | 120 | 93 | 40 |
| UBS 4 SS | M10 | 4” | 114 | 146 | 116 | 40 |
| UBS 5 SS | M10 | 5” | 140 | |||
| UBS 6 SS | M10 | 6” | 165 |
|||
| UBS 8 SS | M12 | 8” | 219 | |||
| UBS 8 SS | M16 | 8” | 219 |
















